В. Г. Волков, Н. Ф. Кощавцев, В. И. Лелейкин,
Государственное унитарное дочернее предприятие «Специальное конструкторское бюро
техники ночного видения», Москва, Россия
А. А. Плешков
НИИ “Полюс”, Москва, Россия
Дано описание активно-импульсного телевизионного (ТВ) переносного прибора наблюдения, обеспечивающего дистанционную передачу изображения с помощью малогабаритного радиопередатчика на дальность до 200 м. Прибор обеспечивает дальность опознавания автомашины до 2000 м при точности измерения дальности ±10 м.
Для решения широкого круга народнохозяйственных проблем (разведка и добыча полезных ископаемых шахтным и открытым способами, строительные работы и вождение транспортных средств в сложных условиях видимости и т. д.) необходимы оптико-электронные приборы наблюдения, работающие при низких уровнях освещенности в широком диапазоне изменения внешних условий. К таким устройствам относятся активно-импульсные приборы ночного видения (АИ ПНВ) [1], которые могут работать при любой освещенности как при нормальной, так и при пониженной прозрачности атмосферы и в условиях воздействия световых помех. Однако для практики часто необходима также дистанционная передача изображения (например для центрального диспетчера или руководителя работ одновременно ведущихся в разных местах). Система проводной связи для решения этой задачи неудобна в эксплуатации, поэтому в настоящей работе рассматривается проблема создания компактного переносного ТВ АИ ПНВ с дистанционной передачей изображения с помощью малогабаритного радиопередатчика.
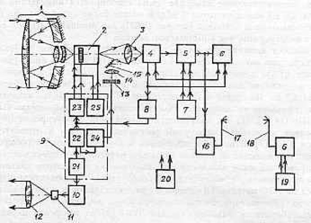
Достигнутые за последние годы успехи в разработке электрических схем АИ ПНВ [2] допускают создание устройств с весьма малыми массой, габаритными размерами и энергопотреблением. Данные схемы могут быть выполнены в виде стандартных модулей, допускающих построение портативных АИ ПНВ. На рис. 1 представлена блок-схема ТВ АИ ПНВ, а на рис. 2 - внешний вид этих модулей [1]. Зеркально-линзовый объектив (см. рис. 1) с фокусным расстоянием 200 мм и эффективным относительным отверстием 1:1,2 [3] сфокусирован на фотокатод ЭОП 2-го поколения 2+ типа ЭПМ-42Г [4]. Объектив передающей ТВ-камеры [5], выполненной на полноформатной ПЗС-матрице, сфокусирован на экран ЭОП. ТВ-камера через видеоусилитель подключена к ТВ-монитору, с экрана которого осуществляется наблюдение. Для синхронизации работы блоков 4-6 служит синхрогенератор. Выход его строчной развертки через делитель частоты подключен ко входу блока стробирования и служит для синхронизации с импульсным управлением (стробированием) ЭОП во избежание возникновения помех на экране ТВ-монитора в виде горизонтальных полос при работе ПНВ в активно-импульсном (АИ) режиме. Блок стробирования служит для реализации АИ режима. Он собран на плате с габаритными размерами 100х75х25 мм и содержит задающий блок импульсов (ЗГИ), запускающий одновременно блок регулируемой задержки (БРЗ) и блок накачки. В БРЗ оператором вводится плавно регулируемая задержка, соответствующая дальности работы ТВ АИ ПНВ от 0 до 4 км. Эта задержка может вводиться также ступенчато.

Рис. 1. Блок-схема переносного ТВ с дистанционной передачей изображения:
1 - зеркально-линзовый объектив;
2 - ЭОП;
3 - объектив переноса;
4 - передающая ТВ-камера;
5 - видеоусилитель;
6 - ТВ-монитор (или выносной телевизор);
7 - синхрогенератор;
8 - блок деления частоты;
9 - блок стробирования;
10 - блок накачки;
11 - импульсный лазерный полупроводниковый излучатель;
12 - объектив формирования излучения;
13 - светодиодный индикатор дальности;
14 - проекционный объектив;
15 - плоское зеркало;
16 - передающий блок радиопередатчика;
17 - передающая антенна;
18 - приемная антенна;
19, 20 - источники первичного питания;
21 - задающий генератор импульсов;
22 - блок регулируемой задержки;
23 - формирователь стробирующих импульсов;
24 - измеритель дальности;
25 - высоковольтный источник питания

Рис. 2. Внешний вид модулей электронных блоков активно-импульсного канала ТВ АИ ПНВ
Предусмотрен режим полуавтоматического просмотра местности по глубине за счет автоматического изменения задержки в прямом и обратном направлениях. Выход БРЗ подключен к формирователю стробирующих импульсов (ФСИ), который стробирует ЭОП по фотокатоду и по микроканальной пластине (МКП). С выхода БРЗ запускается также измеритель дальности, выход которого подключен к светодиодному индикатору дальности. На нем отображается значение дальности, соответствующее задержке. ЭОП стробируется импульсами с длительностью до 1,5 мкс и частотой 1 кГц. В состав блока стробирования входит также высоковольтный источник питания (ВИП) для питания ЭОП при его работе как в непрерывном, так в импульсном режиме.
Блок накачки выполнен на плате с габаритными размерами 80х60х20 мм. Длительность тока накачки этого блока составляет 0,5 мкс при амплитуде 50 А на нагрузке 3,5 Ом и частоте 1 кГц. При питании блоков стробирования и накачки от напряжения постоянного тока 12 В их общее энергопотребление не превышает 3,5 Вт. Их общая масса составляет 180 г. Выход блока накачки подключен к импульсному лазерному полупроводниковому излучателю (ИЛПИ) типа ИЛПИ- 114 [6]. На его излучающую поверхность сфокусирован объектив формирования излучения с фокусным расстоянием 150 мм и относительным отверстием 1:1,5 [7]. В процессе изменения задержки в блоке стробирования происходит перемещение по глубине зоны просматриваемого пространства. При этом цифровое значение дальности, возникающее на индикаторе дальности, с помощью проекционного объектива, плоского зеркала и объектива переноса передается на ПЗС- матрицу ТВ-камеры и при необходимости может наблюдаться с экрана ТВ-монитора. Выход видеоусилителя подключен к передающему блоку малогабаритного радиопередатчика ТО-1 [8] со штыревой передающей антенной 17. Приемная аналогичная антенна 18 соединена с приемной частью радиопередатчика, вмонтированной в ТВ-монитор. Включение приемной части радиопередатчика преобразует ТВ-монитор в телевизор, который со своим источником первичного питания (ИПП) 19 может быть вынесен за пределы прибора для обеспечения дистанционного наблюдения. Для питания всего прибора служит ИПП 20. В качестве ИПП 19, 20 используются аккумуляторные батареи 10НЛЦ-0,9. Их параметры: напряжение 12 В постоянного тока, емкость 0,9 А·ч, масса 0,45 кг, габаритные размеры
67х40х50 мм.
Малогабаритный радиопередатчик ТО-1 с массой 0,15 кг, габаритными размерами 116х75х18 мм и энергопотреблением 0,5 Вт обеспечивает дистанционную передачу стандартного черно- белого ТВ-сигнала в дециметровом диапазоне длин волн на дальность до 200 м в любом направлении. Его несущая частота 487-504 МГц, время непрерывной работы - не менее 4 ч.
ТВ-монитор имеет массу 1,3 кг, габаритные размеры 185х150х130 мм, энергопотребление 12 Вт. Дальность действия ТВ АИ ПНВ (опознавание грузовой автомашины, борт) в пассивном режиме при уровне естественной ночной освещенности 0,003 лк составляет 1600 м, а в АИ-режиме - 2000 м. Угол поля зрения при работе в пассивном режиме составляет 5 град., а в АИ-режиме - 1х0,75 град. Точность измерения дальности составляет +10 м. Энергопотребление без выносного дистанционного устройства наблюдения достигает 20 Вт, а с этим устройством - 34,3 Вт. Масса собственно прибора (без треноги) 12 кг, с треногой - 20 кг, масса выносного устройства - 3,1 кг. Габаритные размеры прибора - 430х390х255мм.
Внешний вид ТВ АИ ПНВ представлен на рис. 3а, б. Изображение наблюдаемых объектов, установленных на дальности 2000 м, представлено для случая работы ТВ АИ ПНВ в АИ-режиме - на рис. 4,а, б. Испытания проводились при нормальной прозрачности атмосферы и при уровне естественной ночной освещенности 0,001-0,005 лк.

Рис. 3. Внешний вид макета ТВ АИ ПНВ:
а - вид спереди;
б - вид сзади

Рис. 4. Характер изображения наблюдаемых объектов при работе ТВ АИ ПНВ в АИ режиме:
а - грузовая автомашина; б - легковая автомашина
Перспективы развития ТВ АИ ПНВ связаны с созданием на его основе комбинированного ПНВ, включающего также и тепловизионный (ТПВ) канал по типу прибора, описанного в работе [9], но при условии использования в ТПВ-канале фокально-плоскостной матрицы фотоприемников и введения изображения обоих каналов в единый ТВ-монитор. Это предполагает представление сигналов обоих каналов в ТВ-стандарте. При этом может быть использован встроенный микропроцессор для формирования с выхода обоих каналов единого оптимизированного интегрированного изображения и его обработки в реальном масштабе времени. Предполагается создание семейства ПНВ с оформлением их конструкции в виде набора стандартных модулей с целью максимального расширения области применения ПНВ, уменьшения их массы, габаритных размеров, энергопотребления и стоимости. Следующим шагом является автоматизация поиска, обнаружения и опознавания объектов наблюдения с помощью встроенной микроЭВМ. Все указанные работы ведутся в настоящее время, и есть реальные условия для их успешного завершения.
Л и т е р а т у р а
- В о л к о в В. Г. Активно-импульсные приборы наблюдения//Вопросы оборонной техники. Сер. 11, 1994. Вып. 3(142)-4(143). С. 18-25.
- Ночной наблюдательный прибор ННП-130: Техническое описание. - М.:НИИ “Полюс”. 1993.
- В о л к о в В. Г., Б а б и н ц е в В. Ф., К о щ а в ц е в Н. Ф. Оптические системы приемной части активно- импульстных оптико-электронных приборов наблюдения//Вопросы оборонной техники. Сер. 11, 1994. Вып. 1(140)- 2(141). С. 22-28.
- Электронно-оптический преобразователь ЭПМ-41Г: Проспект ПО “Экран”.- г. Новосибирск, 1997.
- Малогабаритная телевизионная камера WAT-906: Проспект фирмы Watec.Япония, 1995.
- Номенклатурный каталог изделий, выпускаемых НИИ “Волга”. - Саратов,1994.
- В о л к о в В. Г. Объективы формирования излучения осветителей, выполненных на базе полупроводниковых лазерных излучателей//Вопросы оборонной техники. Сер. 11, 1994. Вып.1(140)-2(141). С. 28-33.
- Малогабаритный радиопередатчик ТО-1: Проспект фирмы ЭВС, Россия, 1995.
- В о л к о в В. Г., К о щ а в ц е в Н. Ф. Комбинированный переносной оптико-электронный прибор наблюдения//Вопросы оборонной техники. Сер. 11, 1997. Вып.1(152)-2(153). С. 34-36.
THE TRANSFER TELEVISION OBSERVE DEVISE WITH THE REMOVE TRANSMISSION OF THE IMAGE
V. G. Volcov, N. F. Koshavtsev, V. I. Leleicin ,
Special Desing Offise of Night Vision Technologie (SDO of NVT), Moscow, Russia
A. A. Pletshcov
Research and Development Institute “Polyus”, Moscow, Russia
This paper describes the active-impulse television transfer observe device, provided the remote transmission of the image thanks to small-size radio transmitter for distance to 200 m. The device provided the range of vision of car to 2000 m by accuracy of distance measure ±10m.